裝入紙張
解決方法
本機有兩處紙張來源以裝入紙張:紙匣和後端托盤。
根據紙張的頁面大小和媒體類型,在其中一個紙張來源中裝入紙張。紙張裝入紙匣還是後端托盤,因選擇的紙張大小或媒體而定。
請參見[可以使用的媒體類型 ]。
REFERENCE
- 當列印時,請選擇正確的頁面大小和媒體類型。如果選擇錯誤的頁面大小或媒體類型,本機可能從錯誤的紙張來源送紙或以不合適的列印品質列印。關於如何在各紙張來源中裝入紙張的詳細資訊,請參閱 [在紙匣中裝入紙張 ] 或 [ 在後端托盤中裝入紙張 ]。
- 如果傳真功能表螢幕中「傳真紙張設定」的「自動送紙切換」設定為「開」,當紙張來源中的一般紙張用完時,印表機會自動切換紙張來源以列印接收的傳真。
- 在紙匣中裝入一般紙張
紙匣中裝入 A4、B5、A5 或 Letter 大小的一般紙張。
當列印時,透過控制台或印表機驅動程式在列印設定中選擇一般紙張(A4、B5、A5 或 Letter 大小),印表機就會自動從紙匣送紙。

- 在後端托盤中裝入相片紙/信封
當您使用相片紙時,請在後端托盤中裝入。
當列印時,透過控制台或印表機驅動程式在列印設定中選擇一般紙張以外的媒體類型,印表機就會自動從後端托盤中送紙。
當使用 A4、B5、A5 或 Letter 大小以外的一般紙張時,也請在後端托盤中裝入。

REFERENCE
1. 準備紙張。
對齊紙張邊緣。如果紙張捲曲,將其平整。

REFERENCE
- 放置前對齊紙張的邊緣。裝入時未對齊邊緣可能引起夾紙。
- 如果紙張捲曲,往相反方向捲起捲曲的角直到紙張完全平整。
關於如何平整捲曲紙張的詳細資訊,請參閱[紙張髒污/列印面有劃痕 ]。
2. 裝入紙張。
(1) 關閉出紙托盤 (D)。
(2) 拉出紙匣 (E)。
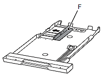
(3) 將左側導紙器 (F) 移至邊緣。
(4) 滑動前端導紙器 (G) ,與紙張尺寸對齊。
前端導紙器與相應紙張大小標記對齊時將發出「喀嚓」一聲並停止。
(5) 裝入一般紙張。
列印面朝上裝入紙張。
REFERENCE
導紙器 (G) 與紙疊之間可能有空隙。
(6) 將紙張與紙匣右側對齊(1),滑動左側導紙器,使其緊靠紙張左側邊緣(2)。
確保紙疊的高度沒有超過限量線 (H)。
(7) 將紙匣輕輕插入印表機,直到其鎖定到位。
3. 輕輕開啟出紙托盤。
REFERENCE
裝入紙張後
- 當不使用電腦用本機影印或列印時,分別列印設定螢幕的「頁面大小」及「類型」裡選擇裝入紙張的大小及類型。
- 使用電腦列印時,在印表機驅動程式中的「印表機紙張大小」和「媒體類型」中選擇裝入紙張的大小和類型。
請參見[從電腦列印 ]。
您可以在後端托盤中裝入相片紙或信封。
●裝入相片紙
IMPORTANT
如果將一般紙張剪裁至小尺寸進行測試列印,比如尺寸為 4" x 6" / 10 x 15 cm,4" x 8" / 101.6 x 203.2 mm,5" x 7" / 13 x 18 cm 或 2.16" x 3.58" / 55.0 x 91.0 mm (Card 大小),會導致夾紙。
1. 準備紙張。
參閱[在紙匣中裝入紙張]的步驟 1。
對齊紙張邊緣。如果紙張捲曲,將其平整。
2. 裝入紙張。
(1) 開啟托紙架,將其抬起,然後放回。
(2) 輕輕開啟出紙托盤。
(3) 滑動導紙器(A)以將其開啟,並列印面朝向自己在後端托盤的中央裝入紙張。
(4) 滑動導紙器 (A) 以對齊紙疊的兩側。
請勿使導紙器靠得過緊。否則紙張可能無法正確裝入。
IMPORTANT
- 總是縱向放置紙張 (B)。橫向(C)放置紙張會導致夾紙。
REFERENCE
- 裝入的紙張勿高於載入限量標記(D)。
REFERENCE
裝入紙張後
- 當不使用電腦用本機影印或列印時,分別列印設定螢幕的「頁面大小」及「類型」裡選擇裝入紙張的大小及類型。
- 使用電腦列印時,在印表機驅動程式中的「印表機紙張大小」和「媒體類型」中選擇裝入紙張的大小和類型。
請參見[從電腦列印 ]。
在自動輸稿器中裝入文檔進行影印、傳真或掃描。
REFERENCE
- 在原稿玻璃中裝入文件時,掃描效果最佳。
1. 確定文檔已從原稿玻璃中取出。
2. 在自動輸稿器中裝入文件。
(1) 開啟文件托盤。
(2) 將文件裝入文件托盤中,直到聽到嘩嘩聲。
將文檔掃描面向上裝入文件托盤。
REFERENCE
- 如果在「設備設定」的「設備使用者設定」中將警告設定為靜音,將文件放入文件托盤時警報不會響起。
(3) 調整文件導紙器以適應文件的寬度。
請勿使文件導紙器靠得過緊。否則文件可能無法正確裝入。

REFERENCE
- 掃描雙面原稿時,可以在「設備設定」的「設備使用者設定」中指定輸出設定。可以選擇按正常順序輸出紙張或正反面反轉輸出紙張。使用反轉設定時掃描速度更快。