如何設定印表機
解決方法
1.將電源線插入印表機的背部,並將另一端插入牆上插座。

IMPORTANT
- 在此階段請勿連接 USB 電纜線。
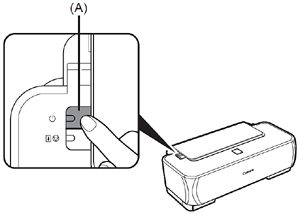
2.按下電源按鈕(A)啟動印表機。

3.確認電源狀態顯示燈 (B) 閃爍綠色。


1.打開機蓋。
墨盒(FINE Cartridge)固定座 (D) 自動移到左側。(此處為安裝墨盒的位置。)

NOTE
- 如果墨盒(FINE Cartridge)固定座返回右側,關閉蓋並重新打開。如果墨盒(FINE Cartridge)固定座未移至左側,確認電源已開啟。

CAUTION
- 請勿粗糙處理墨盒(FINE Cartridge)例如用力按壓或將其掉落。
IMPORTANT
- 確保使用隨附的墨盒(FINE Cartridge)。
2.按箭頭的方向拉橙色保護膠帶 (E) 並輕輕將其取下。

CAUTION
- 小心不要讓所取下保護材料上的墨水弄髒您的雙手或周邊工作環境。
3.安裝彩色墨盒(Color FINE Cartridge)(
) 至右側插槽 (
)。
) 至右側插槽 (
)。
CAUTION
- 請勿向固定座方向敲擊墨盒(FINE Cartridge)。
IMPORTANT
- 彩色墨盒(Color FINE Cartridge)插入右側插槽,黑色墨盒(Black FINE Cartridge)插入左側插槽。
4.向上推動墨水盒,直至墨水盒鎖定到位。
以相同方法插入黑色墨盒(Black FINE Cartridge)(
) 至左側插槽 (
) 。
) 至左側插槽 (
) 。
5.關閉蓋 (A)。
- 等待直到電源狀態顯示燈亮起綠色 (約 1 至 2 分鐘),然後執行下一步。

CAUTION
- 一旦安裝墨盒(FINE Cartridge),請勿隨意取出。
NOTE
- 如果警告指示燈 (F) 閃爍橙色,確保墨盒(FINE Cartridge)已正確安裝。
1.打開托紙架 (A)。

2.握住導紙器 (B) 將其滑向左端,然後載入紙張。

IMPORTANT
- 列印面向上縱向載入紙張。
- 滑動導紙器使之適合載入的紙張。
